专利数据库
统计分析
产业报告
专利数据监控
产业人才
行业动态
产业政策法规
维权援助
个人中心
详情
文本
图像
标题
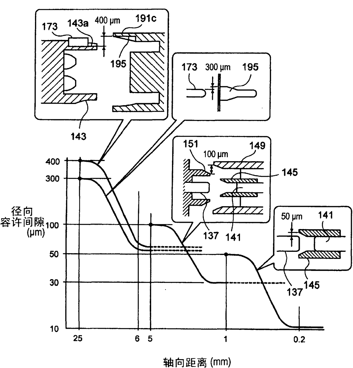
医疗设备和内窥镜设备
授权日
1900-01-01
公开(公告)号
CN102138774A
申请日
2010-12-31
公开(公告)日
2011-08-03
当前申请(专利权)人
富士胶片株式会社
发明人
加贺屋宽人 | 水由明 | 饭田孝之
简单同族
CN102138774A | CN102138774B | EP2353490A1 | EP2353490B1 | JP2011152371A | JP5448885B2 | US20110184244A1
简单同族成员数量
7
简单同族被引用专利总数
59
诉讼案件数
0
法律状态/事件
授权
抱歉,您的浏览器不支持PDF预览,请点击链接下载PDF文件