专利数据库
统计分析
产业报告
专利数据监控
产业人才
行业动态
产业政策法规
维权援助
个人中心
详情
文本
图像
标题
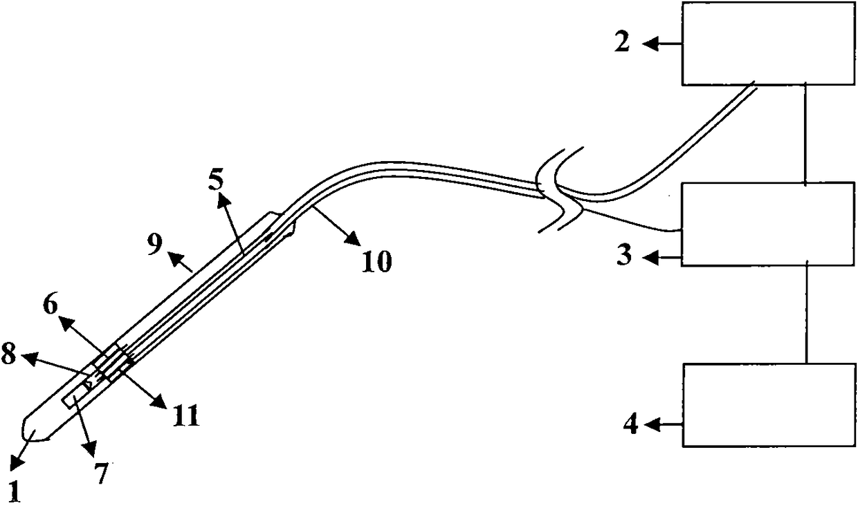
一种血管内光声超声双模成像内窥镜装置及其成像方法
授权日
2012-01-04
公开(公告)号
CN101912250B
申请日
2010-05-24
公开(公告)日
2012-01-04
当前申请(专利权)人
华南师范大学
发明人
邢达 | 袁毅 | 杨思华
简单同族
CN101912250A | CN101912250B
简单同族成员数量
2
简单同族被引用专利总数
52
诉讼案件数
0
法律状态/事件
授权
抱歉,您的浏览器不支持PDF预览,请点击链接下载PDF文件