专利数据库
统计分析
产业报告
专利数据监控
产业人才
行业动态
产业政策法规
维权援助
个人中心
详情
文本
图像
标题
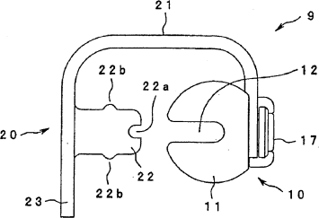
内窥镜钳子口用适配器
授权日
2008-09-24
公开(公告)号
CN100420418C
申请日
2004-09-29
公开(公告)日
2008-09-24
当前申请(专利权)人
奥林巴斯株式会社
发明人
丹羽宽 | 相泽千惠子 | 小野田文幸
简单同族
AU2004214570A1 | AU2004214570B2 | CN100420418C | CN1602794A | DK1520509T3 | EP1520509A1 | EP1520509B1 | JP2005125060A | JP4505244B2 | US20050070757A1 | US7347816
简单同族成员数量
11
简单同族被引用专利总数
25
诉讼案件数
0
法律状态/事件
授权
抱歉,您的浏览器不支持PDF预览,请点击链接下载PDF文件