专利数据库
统计分析
产业报告
专利数据监控
产业人才
行业动态
产业政策法规
维权援助
个人中心
详情
文本
图像
标题
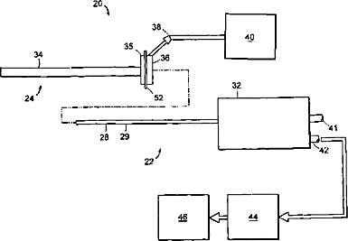
使用微型内窥镜的便携式成像系统
授权日
1900-01-01
公开(公告)号
CN101528113A
申请日
2007-08-30
公开(公告)日
2009-09-09
当前申请(专利权)人
威神斯扣普技术有限公司
发明人
托马斯·J·吉尔 | 詹姆斯·E·迈克唐纳
简单同族
CA2662088A1 | CN101528113A | CN101528113B | CN103142200A | EP2076164A2 | EP2481339A2 | EP2481339A3 | JP2010502287A | JP2010502287A5 | JP5620102B2 | US10595710 | US20080064925A1 | WO2008027448A2 | WO2008027448A3
简单同族成员数量
14
简单同族被引用专利总数
171
诉讼案件数
0
法律状态/事件
授权
抱歉,您的浏览器不支持PDF预览,请点击链接下载PDF文件