专利数据库
统计分析
产业报告
专利数据监控
产业人才
行业动态
产业政策法规
维权援助
个人中心
详情
文本
图像
标题
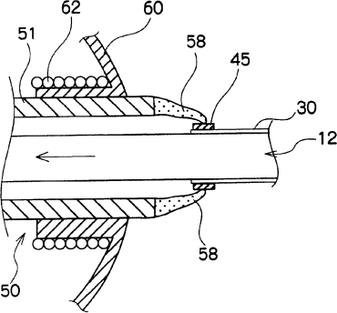
内窥镜装置
授权日
2008-12-17
公开(公告)号
CN100443039C
申请日
2005-01-27
公开(公告)日
2008-12-17
当前申请(专利权)人
富士胶片株式会社 | SRJ公司
发明人
高野政由起
简单同族
CN100443039C | CN1647748A | EP1559362A2 | EP1559362A3 | EP1559362B1 | JP2005211217A | JP3877075B2 | US20050165273A1 | US7537562
简单同族成员数量
9
简单同族被引用专利总数
99
诉讼案件数
0
法律状态/事件
授权 | 权利转移
抱歉,您的浏览器不支持PDF预览,请点击链接下载PDF文件