专利数据库
统计分析
产业报告
专利数据监控
产业人才
行业动态
产业政策法规
维权援助
个人中心
详情
文本
图像
标题
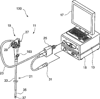
内窥镜系统
授权日
2014-12-24
公开(公告)号
CN102293623B
申请日
2011-06-27
公开(公告)日
2014-12-24
当前申请(专利权)人
富士胶片株式会社
发明人
黑田修 | 饭田孝之
简单同族
CN102293623A | CN102293623B | EP2399508A1 | JP2012005785A | JP5417268B2 | US20110319712A1 | US8517929
简单同族成员数量
7
简单同族被引用专利总数
42
诉讼案件数
0
法律状态/事件
未缴年费
抱歉,您的浏览器不支持PDF预览,请点击链接下载PDF文件