专利数据库
统计分析
产业报告
专利数据监控
产业人才
行业动态
产业政策法规
维权援助
个人中心
详情
文本
图像
标题
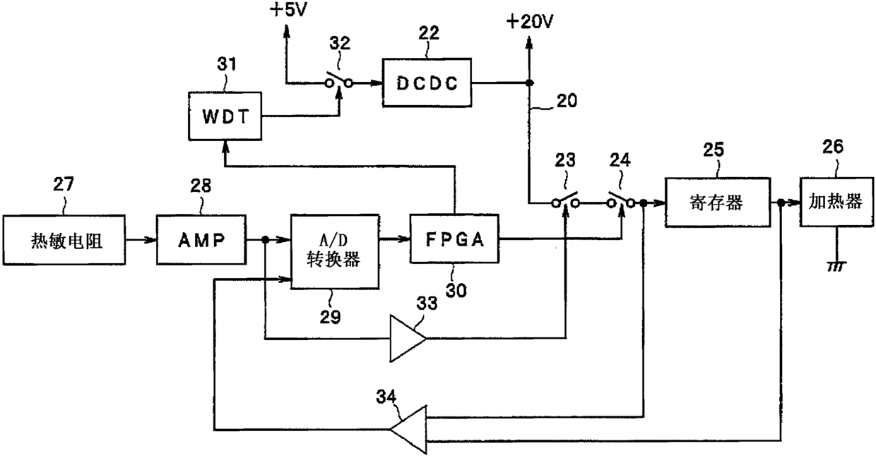
内窥镜用温度控制装置
授权日
2015-07-08
公开(公告)号
CN103002789B
申请日
2011-09-20
公开(公告)日
2015-07-08
当前申请(专利权)人
奥林巴斯株式会社
发明人
濑川和则
简单同族
CN103002789A | CN103002789B | EP2620091A1 | EP2620091A4 | EP2620091B1 | JP5148022B2 | JPWO2012039398A1 | US20130116507A1 | US8602978 | WO2012039398A1
简单同族成员数量
10
简单同族被引用专利总数
28
诉讼案件数
0
法律状态/事件
授权 | 权利转移
抱歉,您的浏览器不支持PDF预览,请点击链接下载PDF文件