专利数据库
统计分析
产业报告
专利数据监控
产业人才
行业动态
产业政策法规
维权援助
个人中心
详情
文本
图像
标题
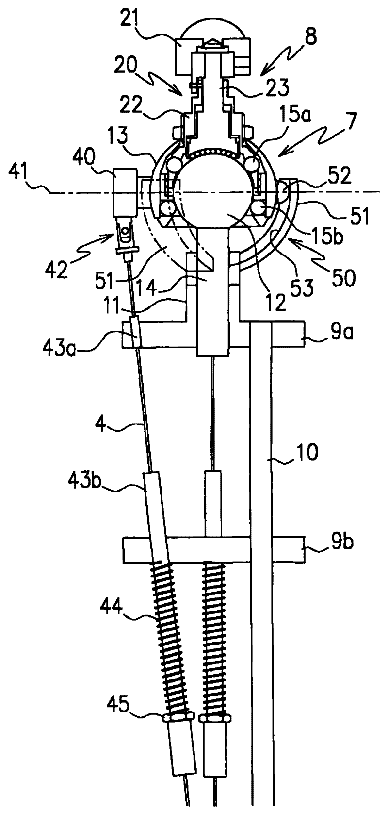
内窥镜装置
授权日
1900-01-01
公开(公告)号
CN101184426A
申请日
2005-05-26
公开(公告)日
2008-05-21
当前申请(专利权)人
株式会社ARS
发明人
田中吉久
简单同族
CN100579442C | CN101184426A | EP1886617A1 | EP1886617A4 | JP4690399B2 | JPWO2006126265A1 | US20090209820A1 | US20100049000A2 | US8287449 | WO2006126265A1
简单同族成员数量
10
简单同族被引用专利总数
81
诉讼案件数
0
法律状态/事件
未缴年费
抱歉,您的浏览器不支持PDF预览,请点击链接下载PDF文件