专利数据库
统计分析
产业报告
专利数据监控
产业人才
行业动态
产业政策法规
维权援助
个人中心
详情
文本
图像
标题
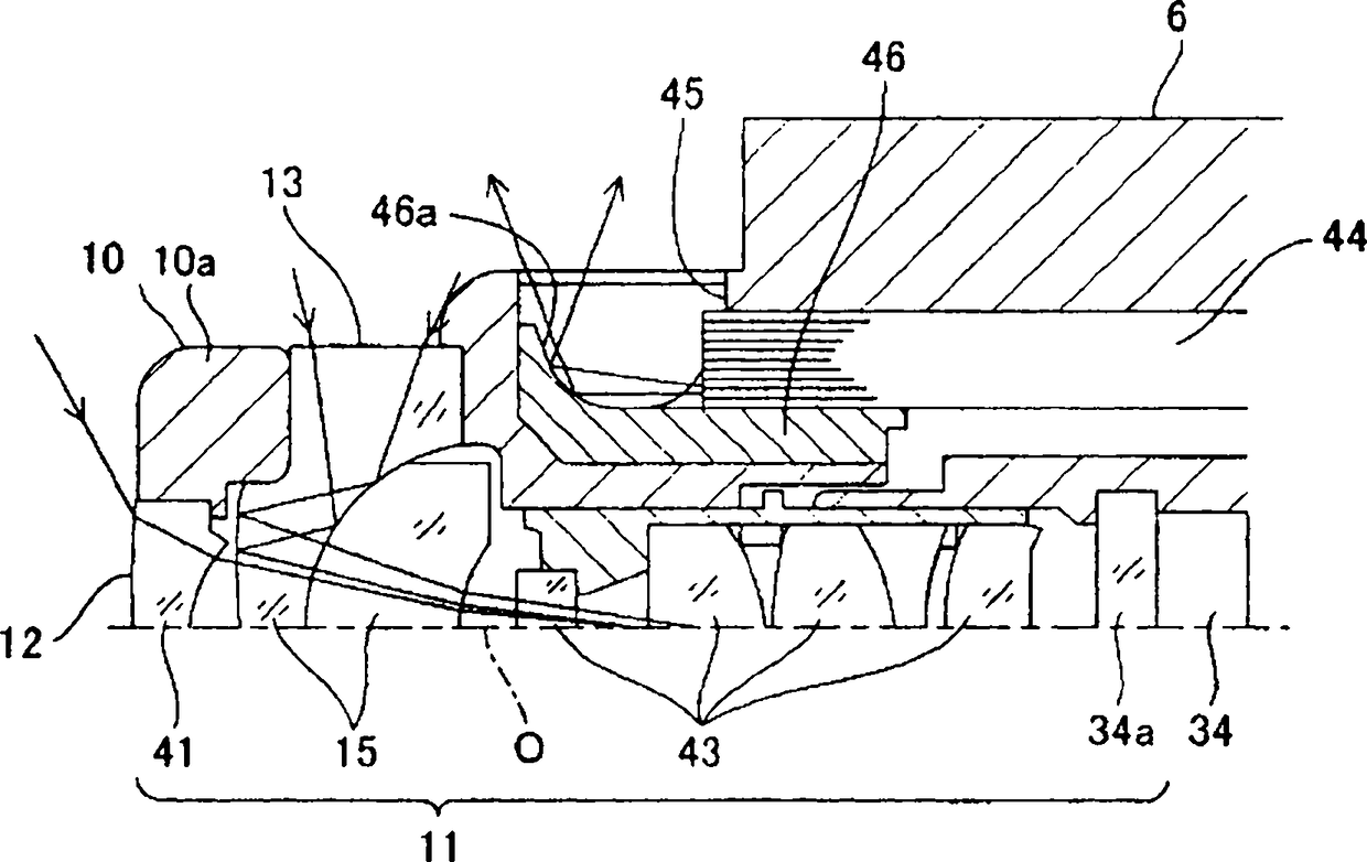
内窥镜
授权日
2014-08-13
公开(公告)号
CN102341028B
申请日
2010-10-22
公开(公告)日
2014-08-13
当前申请(专利权)人
奥林巴斯株式会社
发明人
加瀬圣悟 | 仓康人 | 坂本雄次
简单同族
CN102341028A | CN102341028B | EP2380483A1 | EP2380483A4 | EP2380483B1 | JP4782900B2 | JPWO2011055640A1 | US20110282155A1 | US20130109917A1 | US8343043 | US9131834 | WO2011055640A1
简单同族成员数量
12
简单同族被引用专利总数
40
诉讼案件数
0
法律状态/事件
授权 | 权利转移
抱歉,您的浏览器不支持PDF预览,请点击链接下载PDF文件