专利数据库
统计分析
产业报告
专利数据监控
产业人才
行业动态
产业政策法规
维权援助
个人中心
详情
文本
图像
标题
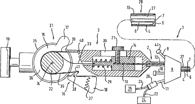
具有柔性探头的内窥镜
授权日
1900-01-01
公开(公告)号
CN1886087A
申请日
2003-11-18
公开(公告)日
2006-12-27
当前申请(专利权)人
复合诊断有限公司
发明人
汉斯格奥格·沙夫
简单同族
AT464832T | AU2003288101A1 | CN100453031C | CN1886087A | DE10351013A1 | DE50312647D1 | EP1673004A1 | EP1673004B1 | HK1094527A | JP2007515189A | US20080312505A1 | US8287448 | WO2005051180A1
简单同族成员数量
13
简单同族被引用专利总数
39
诉讼案件数
0
法律状态/事件
未缴年费
抱歉,您的浏览器不支持PDF预览,请点击链接下载PDF文件