专利数据库
统计分析
产业报告
专利数据监控
产业人才
行业动态
产业政策法规
维权援助
个人中心
详情
文本
图像
标题
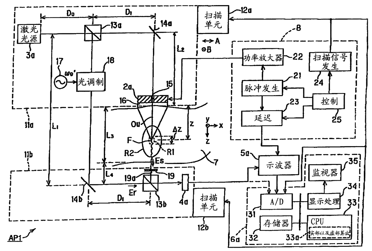
被检体信息分析装置、内窥镜装置、被检体信息分析方法
授权日
2012-09-19
公开(公告)号
CN101002670B
申请日
2007-01-22
公开(公告)日
2012-09-19
当前申请(专利权)人
奥林巴斯株式会社
发明人
五十岚诚
简单同族
CN101002670A | CN101002670B | EP1810610A1 | EP1810610B1 | EP2275022A1 | EP2275022B1 | EP2275022B8 | KR100906270B1 | KR1020070077139A | US20070187632A1
简单同族成员数量
10
简单同族被引用专利总数
138
诉讼案件数
0
法律状态/事件
授权 | 权利转移
抱歉,您的浏览器不支持PDF预览,请点击链接下载PDF文件