专利数据库
统计分析
产业报告
专利数据监控
产业人才
行业动态
产业政策法规
维权援助
个人中心
详情
文本
图像
标题
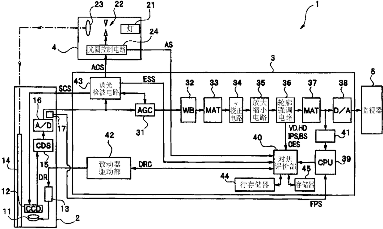
内窥镜装置
授权日
1900-01-01
公开(公告)号
CN102984989A
申请日
2011-05-13
公开(公告)日
2013-03-20
当前申请(专利权)人
奥林巴斯株式会社
发明人
岩崎智树
简单同族
CN102984989A | CN102984989B | EP2570070A1 | EP2570070A4 | EP2570070B1 | JP5149467B2 | JPWO2012029357A1 | US20130038708A1 | US8531510 | WO2012029357A1
简单同族成员数量
10
简单同族被引用专利总数
23
诉讼案件数
0
法律状态/事件
授权 | 权利转移
抱歉,您的浏览器不支持PDF预览,请点击链接下载PDF文件