专利数据库
统计分析
产业报告
专利数据监控
产业人才
行业动态
产业政策法规
维权援助
个人中心
详情
文本
图像
标题
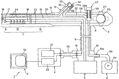
内窥镜
授权日
1900-01-01
公开(公告)号
CN1951312A
申请日
2006-10-17
公开(公告)日
2007-04-25
当前申请(专利权)人
奥林巴斯株式会社
发明人
伊藤仁 | 冈田勉 | 仓康人
简单同族
CN100522045C | CN1951312A | JP2007105395A | JP4772450B2
简单同族成员数量
4
简单同族被引用专利总数
27
诉讼案件数
0
法律状态/事件
未缴年费 | 权利转移
抱歉,您的浏览器不支持PDF预览,请点击链接下载PDF文件