专利数据库
统计分析
产业报告
专利数据监控
产业人才
行业动态
产业政策法规
维权援助
个人中心
详情
文本
图像
标题
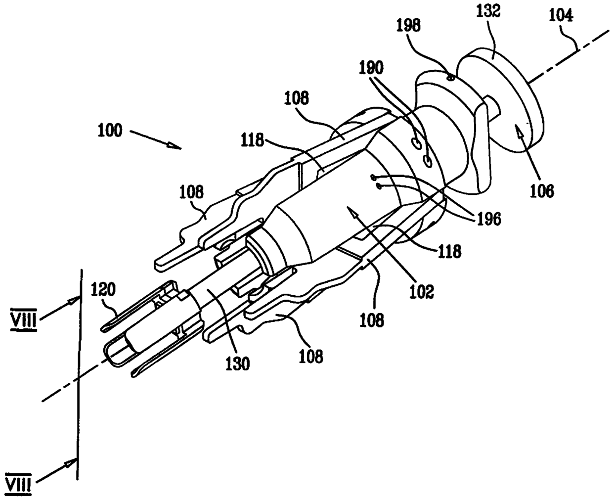
与内窥镜一起使用的组件
授权日
1900-01-01
公开(公告)号
CN103961049A
申请日
2009-03-23
公开(公告)日
2014-08-06
当前申请(专利权)人
智能医疗系统有限公司
发明人
加德.特利厄克 | 吉拉德.卢里亚 | 奥里.尼森
简单同族
CN102046064A | CN102046064B | CN103961049A | CN103961049B | CN106913305A | CN106913305B | EP2317908A2 | EP2317908A4 | IL208291A | IL208291D0 | IL228320A | IL228321A | JP2011517972A | JP2011517972A5 | JP2014195697A | JP2016027865A | JP2017164510A | JP2019000658A | JP5535190B2 | JP5926762B2 | JP6138879B2 | US10264951 | US20110105840A1 | US20160022120A1 | US20190231174A1 | US9119532 | WO2009122395A2 | WO2009122395A3
简单同族成员数量
28
简单同族被引用专利总数
72
诉讼案件数
0
法律状态/事件
授权
抱歉,您的浏览器不支持PDF预览,请点击链接下载PDF文件