专利数据库
统计分析
产业报告
专利数据监控
产业人才
行业动态
产业政策法规
维权援助
个人中心
详情
文本
图像
标题
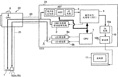
内窥镜装置
授权日
2008-05-14
公开(公告)号
CN201058015Y
申请日
2007-07-10
公开(公告)日
2008-05-14
当前申请(专利权)人
奥林巴斯医疗株式会社
发明人
水野恭辅
简单同族
CN101112303A | CN101112303B | CN201058015Y | DE102007034351A1 | JP2008029621A | JP5226195B2 | US20080027278A1 | US8932206
简单同族成员数量
8
简单同族被引用专利总数
55
诉讼案件数
0
法律状态/事件
避重授权
抱歉,您的浏览器不支持PDF预览,请点击链接下载PDF文件