专利数据库
统计分析
产业报告
专利数据监控
产业人才
行业动态
产业政策法规
维权援助
个人中心
详情
文本
图像
标题
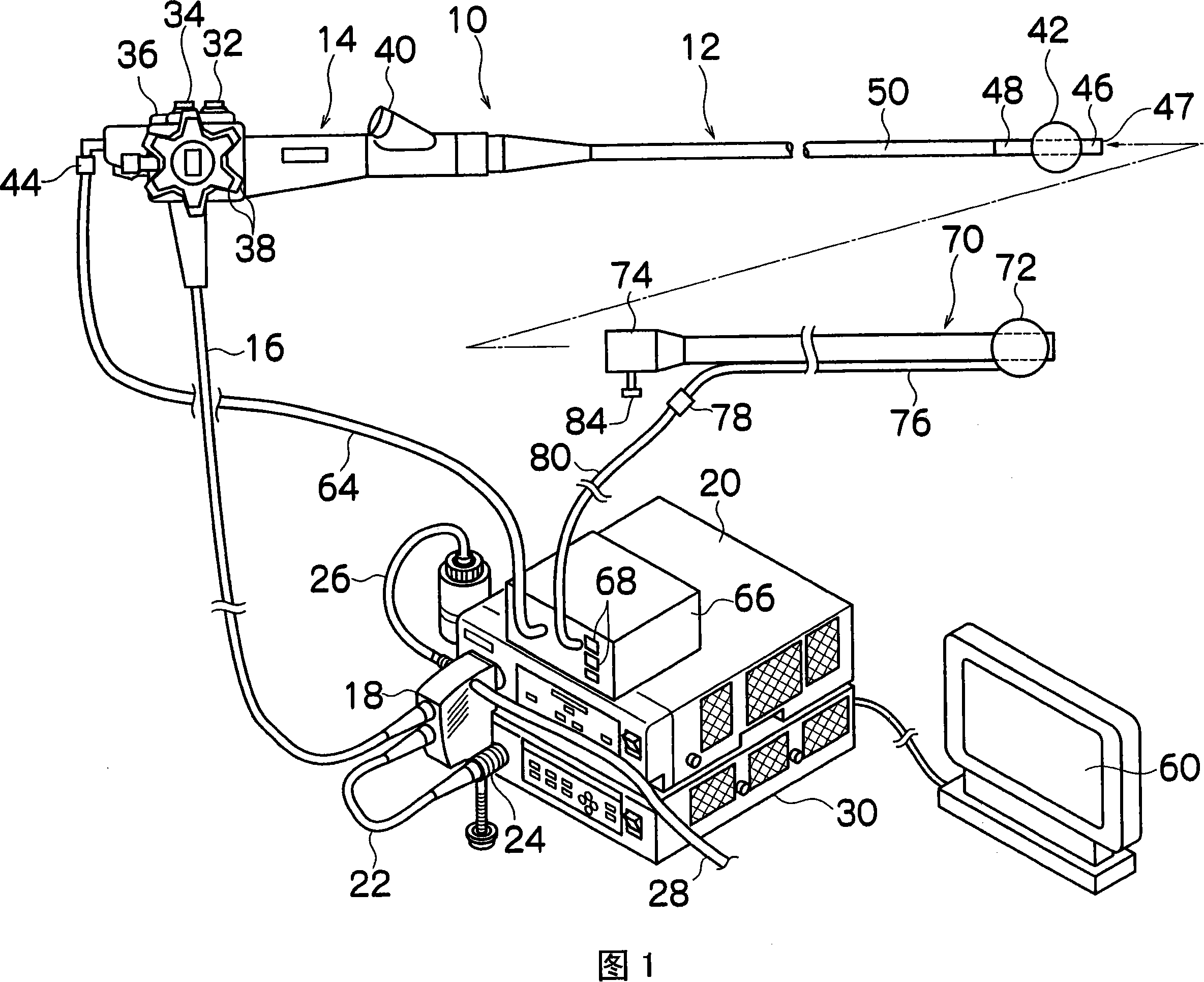
内窥镜装置
授权日
1900-01-01
公开(公告)号
CN101112302A
申请日
2004-12-23
公开(公告)日
2008-01-30
当前申请(专利权)人
富士胶片株式会社 | SRJ公司
发明人
高野政由起
简单同族
AT403393T | AT422837T | AT427066T | CN100361622C | CN100515316C | CN100536758C | CN101099660A | CN101099660B | CN101099661A | CN101112302A | CN1636503A | DE602004015558D1 | DE602004019592D1 | DE602004020406D1 | EP1547514A1 | EP1547514B1 | EP1902666A1 | EP1902666B1 | EP1902667A1 | EP1902667B1 | JP2005185309A | JP3873285B2 | US20050159644A1
简单同族成员数量
23
简单同族被引用专利总数
77
诉讼案件数
0
法律状态/事件
授权 | 权利转移
抱歉,您的浏览器不支持PDF预览,请点击链接下载PDF文件