专利数据库
统计分析
产业报告
专利数据监控
产业人才
行业动态
产业政策法规
维权援助
个人中心
详情
文本
图像
标题
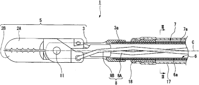
内窥镜用处理器具
授权日
1900-01-01
公开(公告)号
CN101238971A
申请日
2008-01-21
公开(公告)日
2008-08-13
当前申请(专利权)人
奥林巴斯株式会社
发明人
铃木启太
简单同族
CN101238971A | CN101238971B | CN201150526Y | DE602008004368D1 | JP2008212620A | JP2008212620A5 | JP5042700B2 | KR101445392B1 | KR1020080074759A
简单同族成员数量
9
简单同族被引用专利总数
34
诉讼案件数
0
法律状态/事件
授权 | 权利转移
抱歉,您的浏览器不支持PDF预览,请点击链接下载PDF文件