专利数据库
统计分析
产业报告
专利数据监控
产业人才
行业动态
产业政策法规
维权援助
个人中心
详情
文本
图像
标题
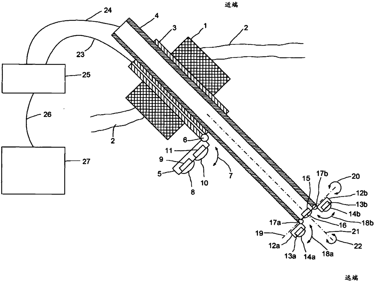
用于微创外科手术的具有多摄像机系统的内窥镜
授权日
1900-01-01
公开(公告)号
CN104902797A
申请日
2013-12-12
公开(公告)日
2015-09-09
当前申请(专利权)人
阿瓦特尔拉医药有限公司
发明人
胡贝图斯·万格林贝格 | 马塞尔·泽贝尔
简单同族
CN104902797A | CN104902797B | DE102012025102A1 | EP2934279A1 | EP2934279B1 | HK1213461A | HK1213461A1 | JP2016505315A | JP6254186B2 | US20140180001A1 | US20160192827A1 | US9307894 | WO2014094718A1
简单同族成员数量
13
简单同族被引用专利总数
26
诉讼案件数
0
法律状态/事件
授权
抱歉,您的浏览器不支持PDF预览,请点击链接下载PDF文件