专利数据库
统计分析
产业报告
专利数据监控
产业人才
行业动态
产业政策法规
维权援助
个人中心
详情
文本
图像
标题
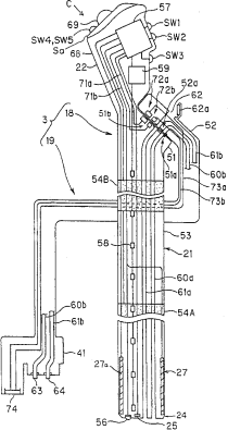
内窥镜
授权日
1900-01-01
公开(公告)号
CN1946331A
申请日
2005-04-19
公开(公告)日
2007-04-11
当前申请(专利权)人
奥林巴斯株式会社
发明人
内村澄洋 | 谷口明 | 小野田文幸 | 野口利昭 | 铃木克哉
简单同族
CN1946331A | CN1946331B | JP2005304869A | JP4091016B2 | US20070038028A1 | US7896801 | WO2005102144A1
简单同族成员数量
7
简单同族被引用专利总数
22
诉讼案件数
0
法律状态/事件
未缴年费
抱歉,您的浏览器不支持PDF预览,请点击链接下载PDF文件