专利数据库
统计分析
产业报告
专利数据监控
产业人才
行业动态
产业政策法规
维权援助
个人中心
详情
文本
图像
标题
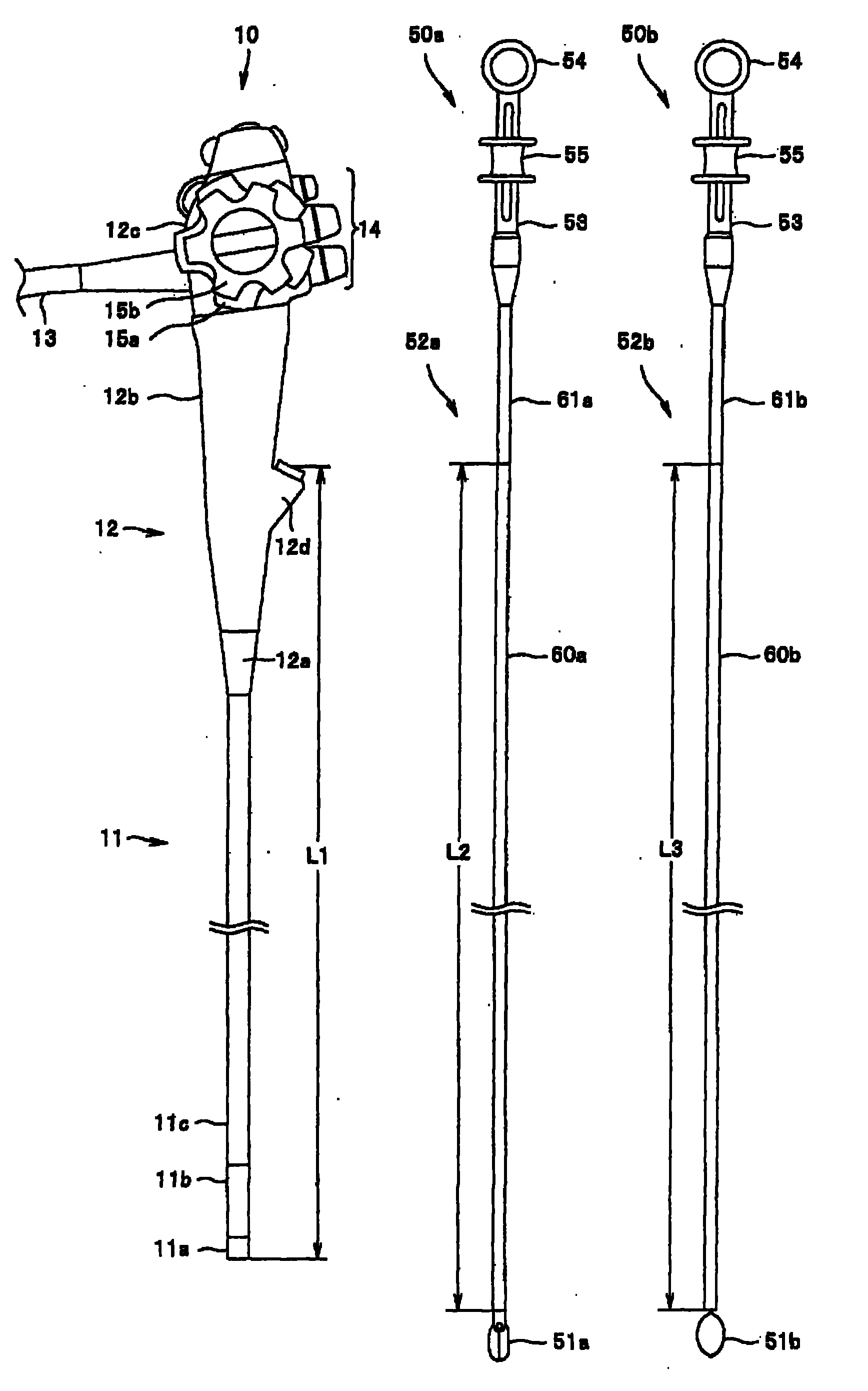
内窥镜系统和医疗器械
授权日
2010-09-08
公开(公告)号
CN101370434B
申请日
2006-02-21
公开(公告)日
2010-09-08
当前申请(专利权)人
奥林巴斯株式会社
发明人
本田一树 | 村上和士 | 市川裕章 | 西家武弘 | 仓康人 | 小贯喜生 | 小宫孝章
简单同族
CN101370434A | CN101370434B | EP1987789A1 | EP1987789A4 | EP1987789B1 | EP1987789B8 | JP4755243B2 | JPWO2007096951A1 | US20090023989A1 | US8075474 | WO2007096951A1
简单同族成员数量
11
简单同族被引用专利总数
55
诉讼案件数
0
法律状态/事件
授权 | 权利转移
抱歉,您的浏览器不支持PDF预览,请点击链接下载PDF文件