专利数据库
统计分析
产业报告
专利数据监控
产业人才
行业动态
产业政策法规
维权援助
个人中心
详情
文本
图像
标题
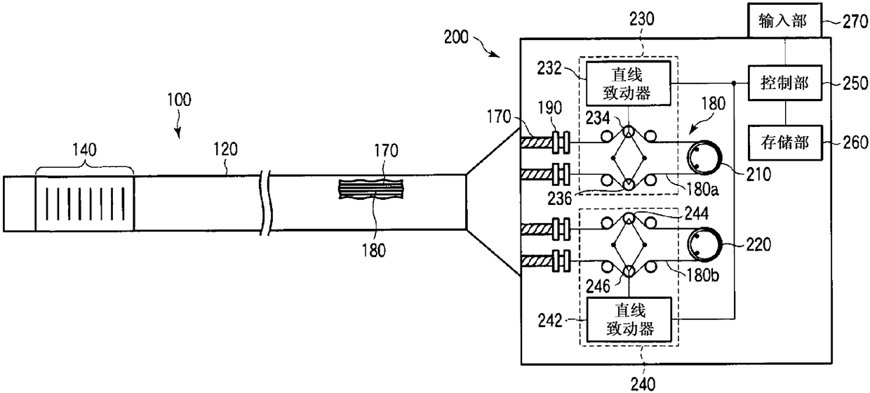
内窥镜系统
授权日
1900-01-01
公开(公告)号
CN102770060A
申请日
2010-10-29
公开(公告)日
2012-11-07
当前申请(专利权)人
奥林巴斯株式会社
发明人
内藤公彦
简单同族
CN102770060A | CN102770060B | EP2517613A1 | EP2517613A4 | EP2517613B1 | JP5048158B2 | JPWO2011114568A1 | US20120046522A1 | US8915841 | WO2011114568A1
简单同族成员数量
10
简单同族被引用专利总数
83
诉讼案件数
0
法律状态/事件
授权 | 权利转移
抱歉,您的浏览器不支持PDF预览,请点击链接下载PDF文件