专利数据库
统计分析
产业报告
专利数据监控
产业人才
行业动态
产业政策法规
维权援助
个人中心
详情
文本
图像
标题
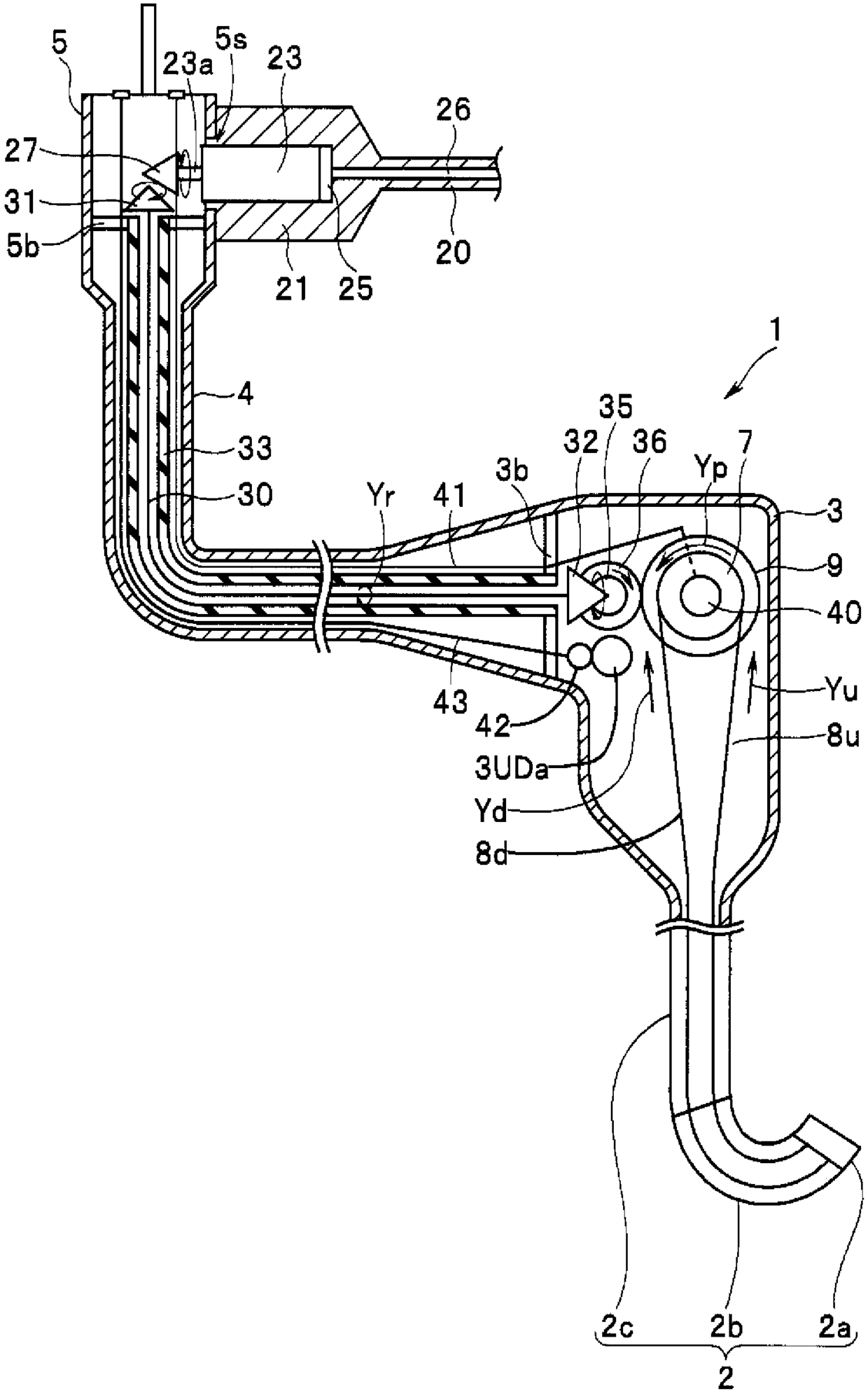
内窥镜装置
授权日
2015-12-30
公开(公告)号
CN204909361U
申请日
2013-11-22
公开(公告)日
2015-12-30
当前申请(专利权)人
奥林巴斯株式会社
发明人
冈本康弘
简单同族
CN204909361U | JPWO2014084135A1 | US20140298932A1 | WO2014084135A1
简单同族成员数量
4
简单同族被引用专利总数
36
诉讼案件数
0
法律状态/事件
授权
抱歉,您的浏览器不支持PDF预览,请点击链接下载PDF文件