专利数据库
统计分析
产业报告
专利数据监控
产业人才
行业动态
产业政策法规
维权援助
个人中心
详情
文本
图像
标题
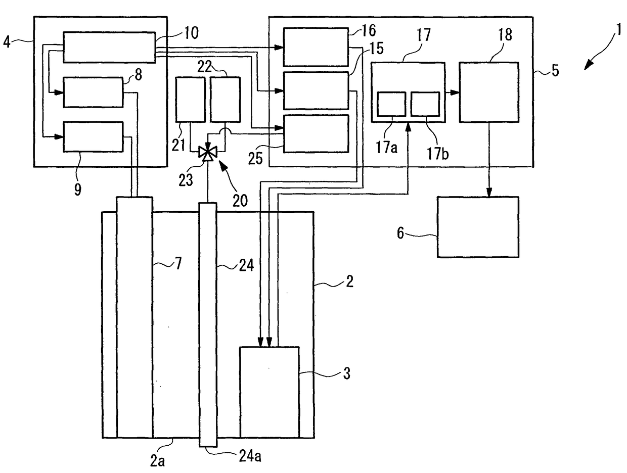
内窥镜系统
授权日
2011-11-09
公开(公告)号
CN101389259B
申请日
2007-02-22
公开(公告)日
2011-11-09
当前申请(专利权)人
奥林巴斯株式会社
发明人
森下弘靖 | 长谷川晃
简单同族
CN101389259A | CN101389259B | EP1989992A1 | EP1989992A4 | EP1989992B1 | JP2007229054A | JP4954573B2 | US20070213588A1 | US8021295 | WO2007099840A1
简单同族成员数量
10
简单同族被引用专利总数
70
诉讼案件数
0
法律状态/事件
未缴年费
抱歉,您的浏览器不支持PDF预览,请点击链接下载PDF文件