专利数据库
统计分析
产业报告
专利数据监控
产业人才
行业动态
产业政策法规
维权援助
个人中心
详情
文本
图像
标题
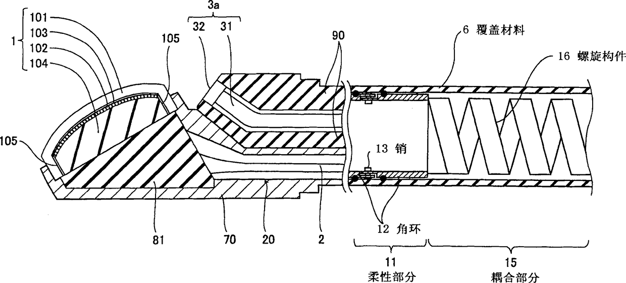
超声波内窥镜
授权日
2013-11-06
公开(公告)号
CN101396289B
申请日
2008-09-26
公开(公告)日
2013-11-06
当前申请(专利权)人
富士胶片株式会社
发明人
永野和彦 | 大泽敦
简单同族
CN101396289A | CN101396289B | JP2009082360A | JP5329065B2 | US20090088646A1 | US8382673
简单同族成员数量
6
简单同族被引用专利总数
70
诉讼案件数
0
法律状态/事件
授权
抱歉,您的浏览器不支持PDF预览,请点击链接下载PDF文件