专利数据库
统计分析
产业报告
专利数据监控
产业人才
行业动态
产业政策法规
维权援助
个人中心
详情
文本
图像
标题
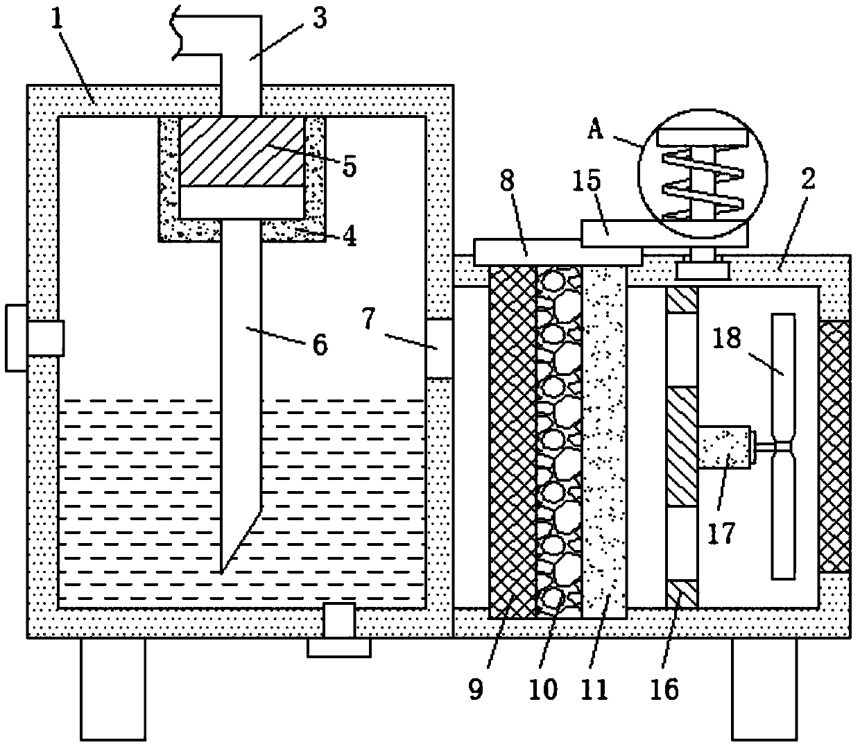
一种腹腔镜手术烟雾净化器
授权日
2019-08-23
公开(公告)号
CN209285591U
申请日
2018-12-29
公开(公告)日
2019-08-23
当前申请(专利权)人
遵义市第一人民医院
发明人
骆礼波 | 陈正权 | 贺婕 | 周昕 | 陈宸 | 刘道生
简单同族
CN209285591U
简单同族成员数量
1
简单同族被引用专利总数
0
诉讼案件数
0
法律状态/事件
授权
抱歉,您的浏览器不支持PDF预览,请点击链接下载PDF文件