专利数据库
统计分析
产业报告
专利数据监控
产业人才
行业动态
产业政策法规
维权援助
个人中心
详情
文本
图像
标题
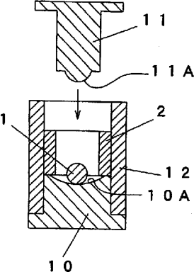
内窥镜前端光学部件的制造方法
授权日
1900-01-01
公开(公告)号
CN1409147A
申请日
2002-09-27
公开(公告)日
2003-04-09
当前申请(专利权)人
富士能株式会社
发明人
武笠克纪 | 藤田浩明
简单同族
CN1242288C | CN1409147A | JP2003107370A | US20030056540A1 | US6977053
简单同族成员数量
5
简单同族被引用专利总数
48
诉讼案件数
0
法律状态/事件
未缴年费
抱歉,您的浏览器不支持PDF预览,请点击链接下载PDF文件