专利数据库
统计分析
产业报告
专利数据监控
产业人才
行业动态
产业政策法规
维权援助
个人中心
详情
文本
图像
标题
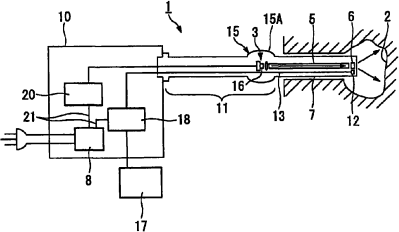
内窥镜装置
授权日
1900-01-01
公开(公告)号
CN101155545A
申请日
2006-04-07
公开(公告)日
2008-04-02
当前申请(专利权)人
奥林巴斯株式会社
发明人
伊藤满祐 | 大西顺一 | 高桥进 | 山田雄一
简单同族
CN101155545A | CN101155545B | JP2006288534A
简单同族成员数量
3
简单同族被引用专利总数
25
诉讼案件数
0
法律状态/事件
授权 | 权利转移
抱歉,您的浏览器不支持PDF预览,请点击链接下载PDF文件