专利数据库
统计分析
产业报告
专利数据监控
产业人才
行业动态
产业政策法规
维权援助
个人中心
详情
文本
图像
标题
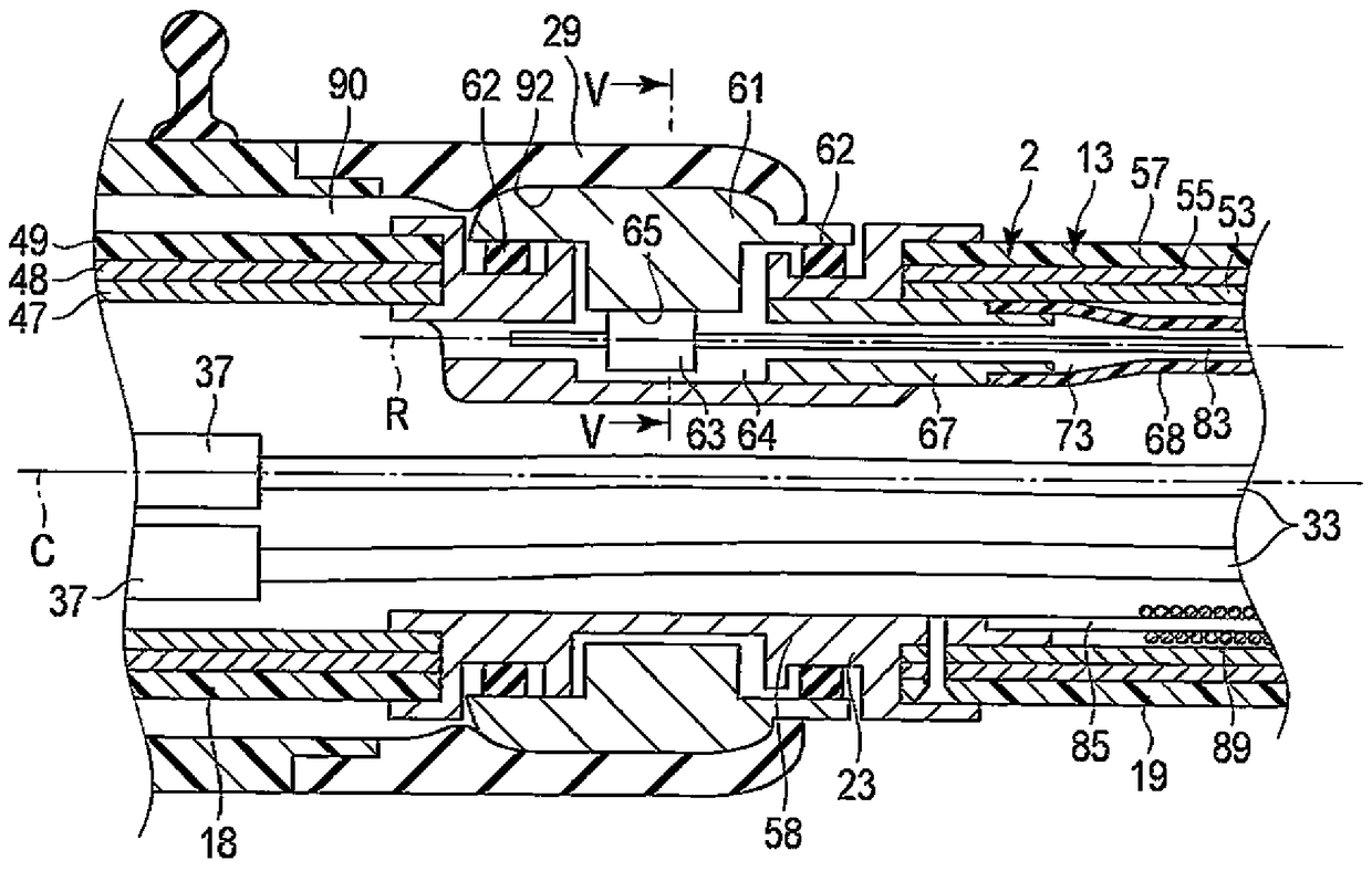
内窥镜
授权日
2018-06-19
公开(公告)号
CN103402415B
申请日
2011-06-17
公开(公告)日
2018-06-19
当前申请(专利权)人
奥林巴斯株式会社
发明人
森山宏树
简单同族
CN103402413A | CN103402413B | CN103402414A | CN103402414B | CN103402415A | CN103402415B | CN103402416A | CN103402416B | EP2668885A1 | EP2668885A4 | EP2668885B1 | EP2668886A1 | EP2668886A4 | EP2668886B1 | EP2668887A1 | EP2668887A4 | EP2668887B1 | EP2668888A1 | EP2668888A4 | EP2668888B1 | JP5326049B2 | JP5326050B2 | JP5326053B2 | JP5326054B2 | JP5395277B2 | JPWO2012137361A1 | JPWO2012137362A1 | JPWO2012137363A1 | JPWO2012137364A1 | JPWO2012137365A1 | US20130035552A1 | US20130041222A1 | US20130096383A1 | US20130102847A1 | US20130102848A1 | US8784302 | US8795159 | US8821384 | US9204784 | US9763561 | WO2012137361A1 | WO2012137362A1 | WO2012137363A1 | WO2012137364A1 | WO2012137365A1
简单同族成员数量
45
简单同族被引用专利总数
76
诉讼案件数
0
法律状态/事件
授权 | 复审 | 权利转移
抱歉,您的浏览器不支持PDF预览,请点击链接下载PDF文件