专利数据库
统计分析
产业报告
专利数据监控
产业人才
行业动态
产业政策法规
维权援助
个人中心
详情
文本
图像
标题
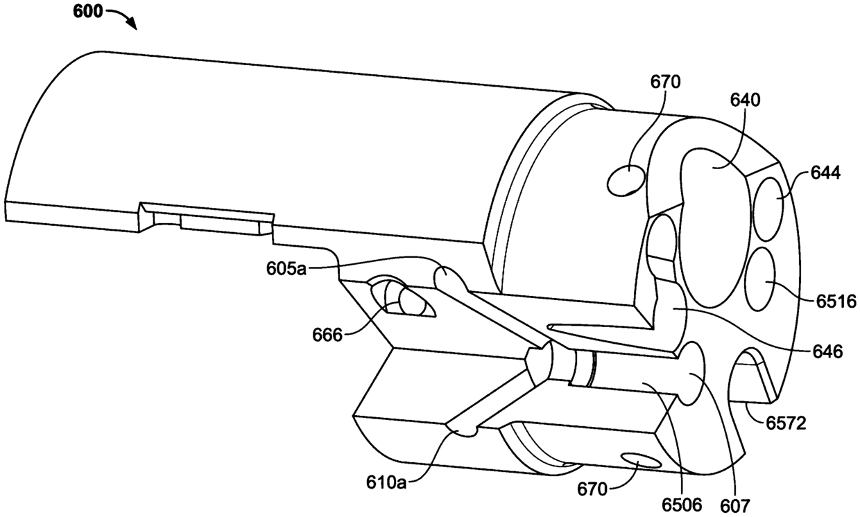
紧凑的多观察元件内窥镜系统
授权日
1900-01-01
公开(公告)号
CN105246393A
申请日
2014-03-28
公开(公告)日
2016-01-13
当前申请(专利权)人
恩多巧爱思股份有限公司
发明人
A.利维 | M.利瓦伊 | G.萨曼 | Y.基尔马 | Y.格肖夫 | L.克里沃皮斯克
简单同族
CN105246393A | EP2979123A2 | EP2979123A4 | JP2016522006A | JP2016522006A5 | WO2014160983A2 | WO2014160983A3
简单同族成员数量
7
简单同族被引用专利总数
40
诉讼案件数
0
法律状态/事件
实质审查
抱歉,您的浏览器不支持PDF预览,请点击链接下载PDF文件