专利数据库
统计分析
产业报告
专利数据监控
产业人才
行业动态
产业政策法规
维权援助
个人中心
详情
文本
图像
标题
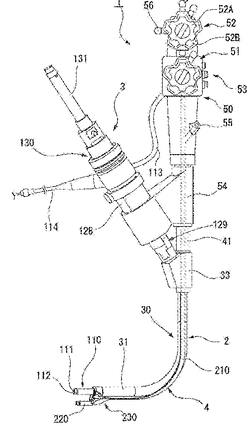
内窥镜及处理器具
授权日
2017-07-11
公开(公告)号
CN105011893B
申请日
2012-02-16
公开(公告)日
2017-07-11
当前申请(专利权)人
奥林巴斯株式会社
发明人
小贯喜生 | 松野清孝 | 桥本达锐 | 冈田勉 | 万寿和夫 | 重田健 | 岩永直树 | 竹本昌太郎 | 石冈绫乃
简单同族
CN103153159A | CN103153159B | CN105011893A | CN105011893B | EP2596741A1 | EP2596741A4 | EP2596741B1 | EP2957214A2 | EP2957214A3 | JP2013052258A | JP5155499B2 | JP5277341B2 | JPWO2012111761A1 | US20130184528A1 | US20140296632A1 | US8771171 | US9456736 | WO2012111761A1
简单同族成员数量
18
简单同族被引用专利总数
30
诉讼案件数
0
法律状态/事件
授权 | 权利转移
抱歉,您的浏览器不支持PDF预览,请点击链接下载PDF文件