专利数据库
统计分析
产业报告
专利数据监控
产业人才
行业动态
产业政策法规
维权援助
个人中心
详情
文本
图像
标题
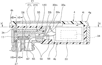
内窥镜
授权日
1900-01-01
公开(公告)号
CN101108117A
申请日
2007-07-16
公开(公告)日
2008-01-23
当前申请(专利权)人
奥林巴斯株式会社
发明人
正吕地礼德 | 渡边胜司
简单同族
CN101108117A | CN101108117B | EP1880660A1 | JP2008043726A | JP5259113B2 | US20080021268A1 | US8142346
简单同族成员数量
7
简单同族被引用专利总数
58
诉讼案件数
0
法律状态/事件
授权 | 权利转移
抱歉,您的浏览器不支持PDF预览,请点击链接下载PDF文件