专利数据库
统计分析
产业报告
专利数据监控
产业人才
行业动态
产业政策法规
维权援助
个人中心
详情
文本
图像
标题
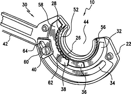
内窥镜缝合装置
授权日
2010-07-14
公开(公告)号
CN1879566B
申请日
2006-06-09
公开(公告)日
2010-07-14
当前申请(专利权)人
伊西康内外科公司
发明人
迈克尔·J·斯托克斯 | 马克·S·奥尔蒂斯
简单同族
AT420596T | AU2006202017A1 | AU2006202017B2 | BRPI0602285A | BRPI0602285A2 | CA2547611A1 | CN1879566A | CN1879566B | DE602006004796D1 | EP1733685A1 | EP1733685B1 | HK1098318A | HK1098318A1 | IL175677A | IL175677D0 | JP2006346458A | JP5122090B2 | KR1020060129968A | RU2006120395A | RU2436530C2 | SG128559A1 | US20060282089A1 | US7615060
简单同族成员数量
23
简单同族被引用专利总数
145
诉讼案件数
0
法律状态/事件
未缴年费
抱歉,您的浏览器不支持PDF预览,请点击链接下载PDF文件