专利数据库
统计分析
产业报告
专利数据监控
产业人才
行业动态
产业政策法规
维权援助
个人中心
详情
文本
图像
标题
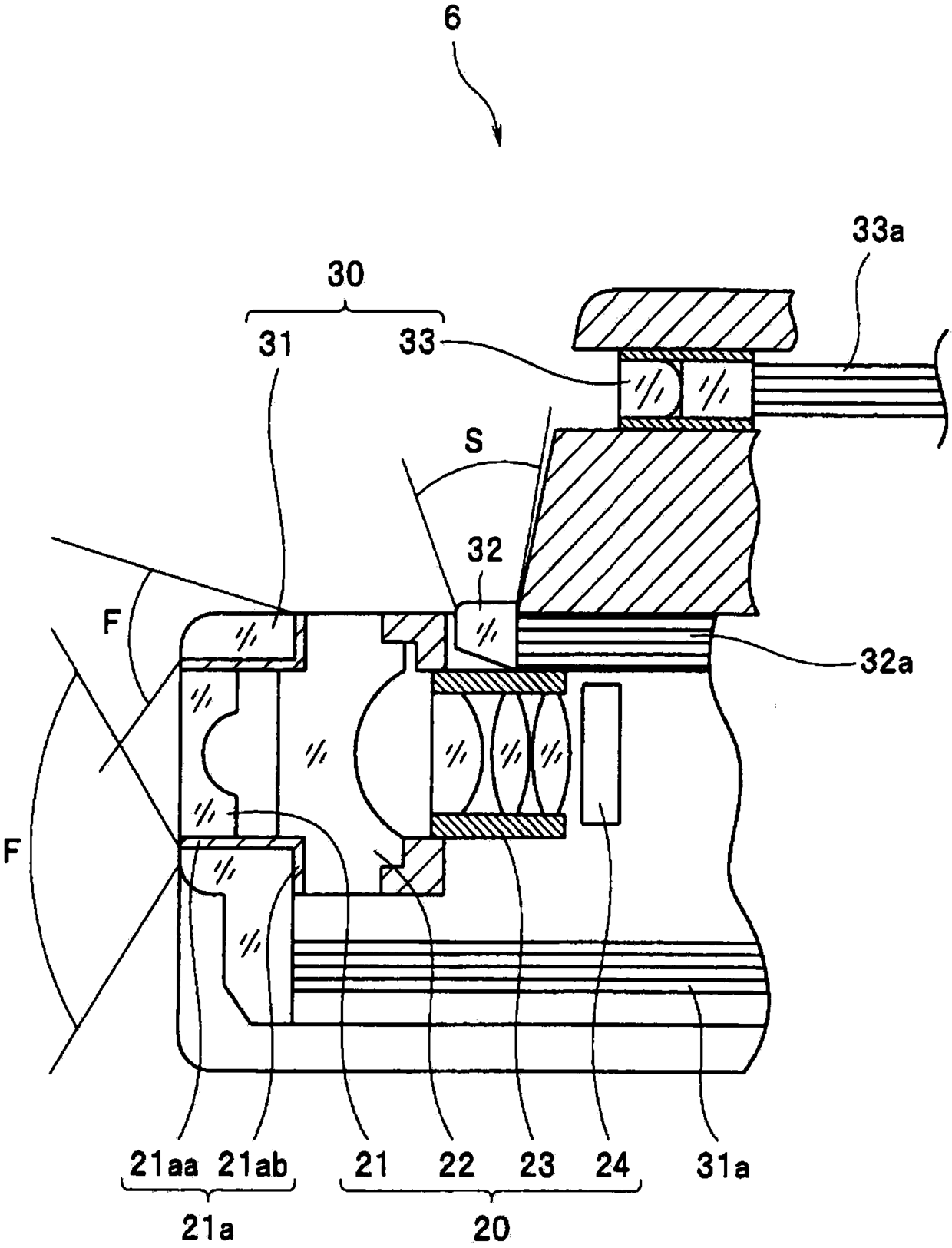
内窥镜
授权日
1900-01-01
公开(公告)号
CN104203070A
申请日
2013-10-30
公开(公告)日
2014-12-10
当前申请(专利权)人
奥林巴斯株式会社
发明人
本田一树 | 池田裕一 | 进士翔
简单同族
CN104203070A | CN104203070B | EP2815691A1 | EP2815691A4 | JP5596889B1 | JPWO2014073426A1 | US20140347878A1 | US9122067 | WO2014073426A1
简单同族成员数量
9
简单同族被引用专利总数
35
诉讼案件数
0
法律状态/事件
授权 | 权利转移
抱歉,您的浏览器不支持PDF预览,请点击链接下载PDF文件