专利数据库
统计分析
产业报告
专利数据监控
产业人才
行业动态
产业政策法规
维权援助
个人中心
详情
文本
图像
标题
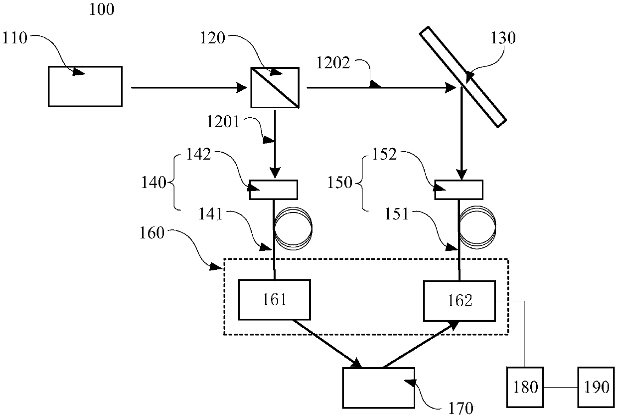
太赫兹内窥镜系统
授权日
2019-12-06
公开(公告)号
CN209733928U
申请日
2018-09-14
公开(公告)日
2019-12-06
当前申请(专利权)人
深圳市华讯方舟太赫兹科技有限公司 | 华讯方舟科技有限公司
发明人
潘子祥 | 谭信辉 | 祁春超
简单同族
CN209733928U
简单同族成员数量
1
简单同族被引用专利总数
0
诉讼案件数
0
法律状态/事件
授权
抱歉,您的浏览器不支持PDF预览,请点击链接下载PDF文件