专利数据库
统计分析
产业报告
专利数据监控
产业人才
行业动态
产业政策法规
维权援助
个人中心
详情
文本
图像
标题
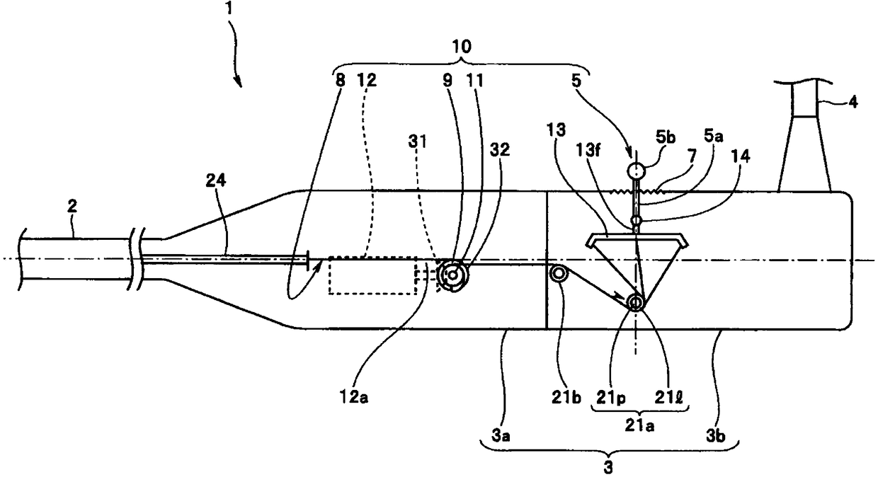
内窥镜
授权日
1900-01-01
公开(公告)号
CN103717119A
申请日
2012-11-26
公开(公告)日
2014-04-09
当前申请(专利权)人
奥林巴斯株式会社
发明人
冈本康弘
简单同族
CN103717119A | CN103717119B | EP2805664A1 | EP2805664A4 | JP6113081B2 | JPWO2013108486A1 | US20140121462A1 | WO2013108486A1
简单同族成员数量
8
简单同族被引用专利总数
24
诉讼案件数
0
法律状态/事件
未缴年费 | 权利转移
抱歉,您的浏览器不支持PDF预览,请点击链接下载PDF文件