专利数据库
统计分析
产业报告
专利数据监控
产业人才
行业动态
产业政策法规
维权援助
个人中心
详情
文本
图像
标题
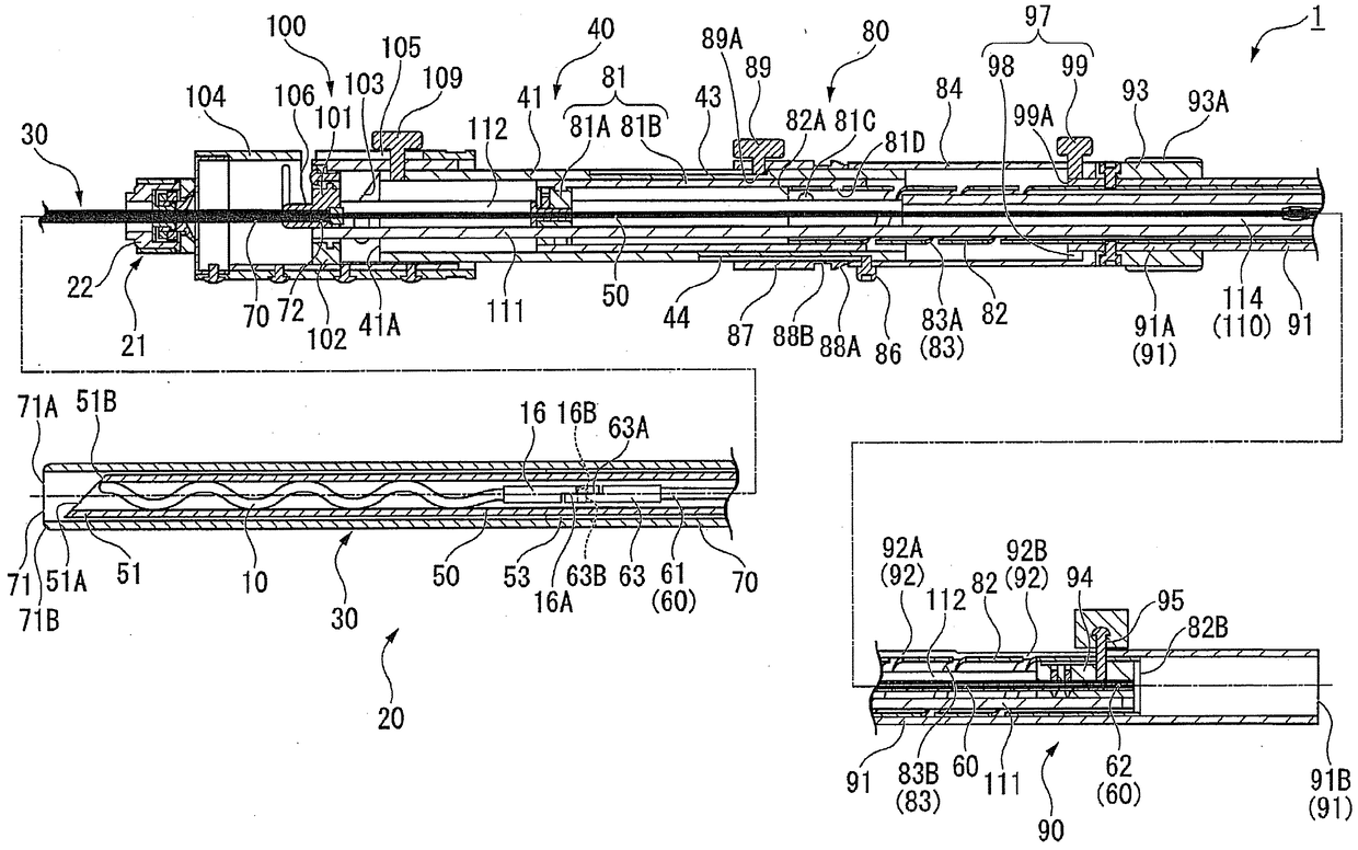
连结支承器具、内窥镜用处理器具
授权日
2018-02-23
公开(公告)号
CN104840227B
申请日
2010-11-01
公开(公告)日
2018-02-23
当前申请(专利权)人
奥林巴斯株式会社
发明人
佐藤雅俊
简单同族
CN102448378A | CN102448378B | CN104840227A | CN104840227B | EP2499975A1 | EP2499975A4 | EP2499975B1 | JP4801230B2 | JPWO2011055700A1 | US20120029278A1 | US9895142 | WO2011055700A1
简单同族成员数量
12
简单同族被引用专利总数
69
诉讼案件数
0
法律状态/事件
授权
抱歉,您的浏览器不支持PDF预览,请点击链接下载PDF文件