专利数据库
统计分析
产业报告
专利数据监控
产业人才
行业动态
产业政策法规
维权援助
个人中心
详情
文本
图像
标题
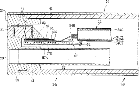
内窥镜
授权日
2013-12-18
公开(公告)号
CN203341708U
申请日
2013-02-27
公开(公告)日
2013-12-18
当前申请(专利权)人
富士胶片株式会社
发明人
高桥一昭
简单同族
CN203341708U | EP2644084A1 | EP2644084B1 | JP2013198642A | JP5540036B2 | US20130253272A1
简单同族成员数量
6
简单同族被引用专利总数
33
诉讼案件数
0
法律状态/事件
授权
抱歉,您的浏览器不支持PDF预览,请点击链接下载PDF文件