专利数据库
统计分析
产业报告
专利数据监控
产业人才
行业动态
产业政策法规
维权援助
个人中心
详情
文本
图像
标题
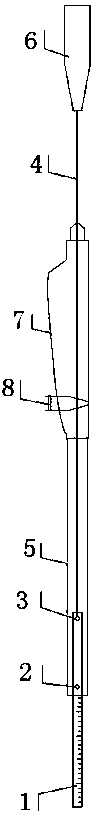
内窥镜下测量用刻度尺
授权日
1900-01-01
公开(公告)号
CN108968966A
申请日
2017-06-02
公开(公告)日
2018-12-11
当前申请(专利权)人
兰州大学第一医院
发明人
朱晓亮 | 许喆 | 王芳昭 | 张凌恩 | 许红霞 | 李琼 | 宋晓静 | 王正峰 | 周文策 | 李汛
简单同族
CN108968966A
简单同族成员数量
1
简单同族被引用专利总数
0
诉讼案件数
0
法律状态/事件
实质审查
抱歉,您的浏览器不支持PDF预览,请点击链接下载PDF文件