专利数据库
统计分析
产业报告
专利数据监控
产业人才
行业动态
产业政策法规
维权援助
个人中心
详情
文本
图像
标题
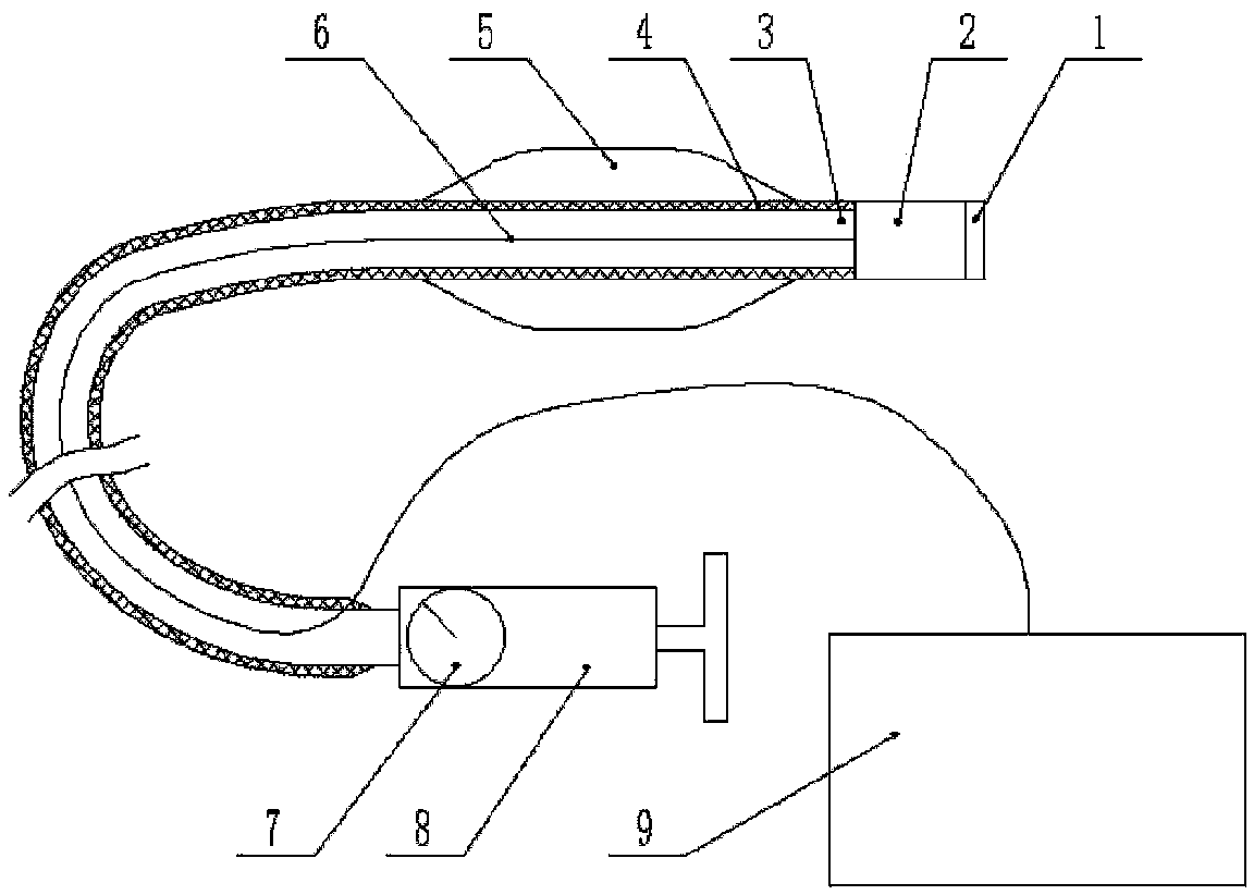
一种带有球囊的胃肠用电子内窥镜
授权日
2016-04-27
公开(公告)号
CN205181300U
申请日
2015-12-21
公开(公告)日
2016-04-27
当前申请(专利权)人
新乡医学院第三附属医院
发明人
顾世玉 | 焦军杰 | 宋琳琳 | 路德荣
简单同族
CN205181300U
简单同族成员数量
1
简单同族被引用专利总数
0
诉讼案件数
0
法律状态/事件
未缴年费
抱歉,您的浏览器不支持PDF预览,请点击链接下载PDF文件