专利数据库
统计分析
产业报告
专利数据监控
产业人才
行业动态
产业政策法规
维权援助
个人中心
详情
文本
图像
标题
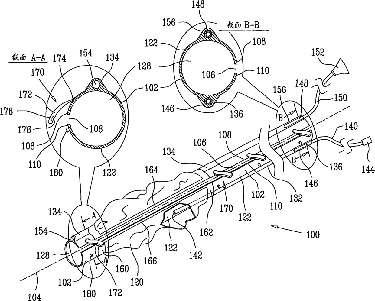
在内窥镜中使用的组件及其应用
授权日
2016-03-30
公开(公告)号
CN102256534B
申请日
2009-10-01
公开(公告)日
2016-03-30
当前申请(专利权)人
智能医疗系统有限公司
发明人
G·特柳克 | G·鲁利亚 | O·尼森
简单同族
CN102256534A | CN102256534B | CN105310636A | CN110074746A | EP2348951A2 | EP2348951A4 | EP2348951B1 | EP2764818A1 | ES2514525T3 | IL212276A | IL212276D0 | IL238290A | IL238291D0 | IL238292A | IL238293A | IL238293D0 | US20110251458A1 | US20170027415A1 | WO2010046891A2 | WO2010046891A3
简单同族成员数量
20
简单同族被引用专利总数
63
诉讼案件数
0
法律状态/事件
授权
抱歉,您的浏览器不支持PDF预览,请点击链接下载PDF文件