专利数据库
统计分析
产业报告
专利数据监控
产业人才
行业动态
产业政策法规
维权援助
个人中心
详情
文本
图像
标题
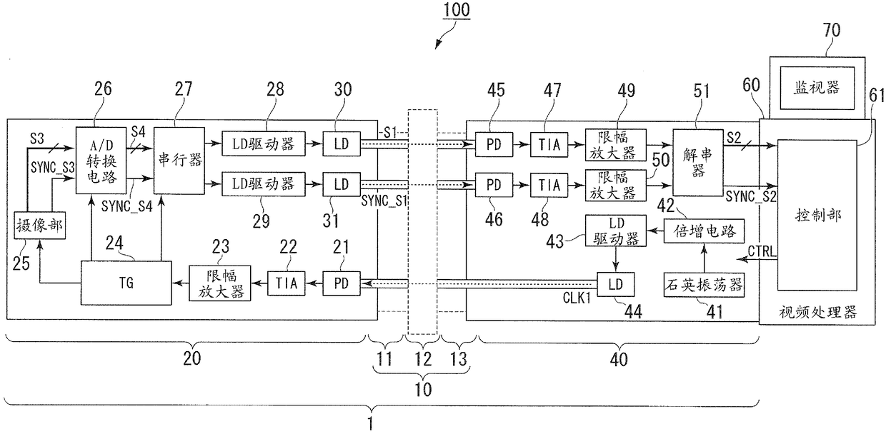
内窥镜系统
授权日
1900-01-01
公开(公告)号
CN102258359A
申请日
2011-05-27
公开(公告)日
2011-11-30
当前申请(专利权)人
奥林巴斯株式会社
发明人
加藤秀一
简单同族
CN102258359A | CN102258359B | JP2011250835A | US20110292194A1 | US8885031
简单同族成员数量
5
简单同族被引用专利总数
34
诉讼案件数
0
法律状态/事件
授权
抱歉,您的浏览器不支持PDF预览,请点击链接下载PDF文件