专利数据库
统计分析
产业报告
专利数据监控
产业人才
行业动态
产业政策法规
维权援助
个人中心
详情
文本
图像
标题
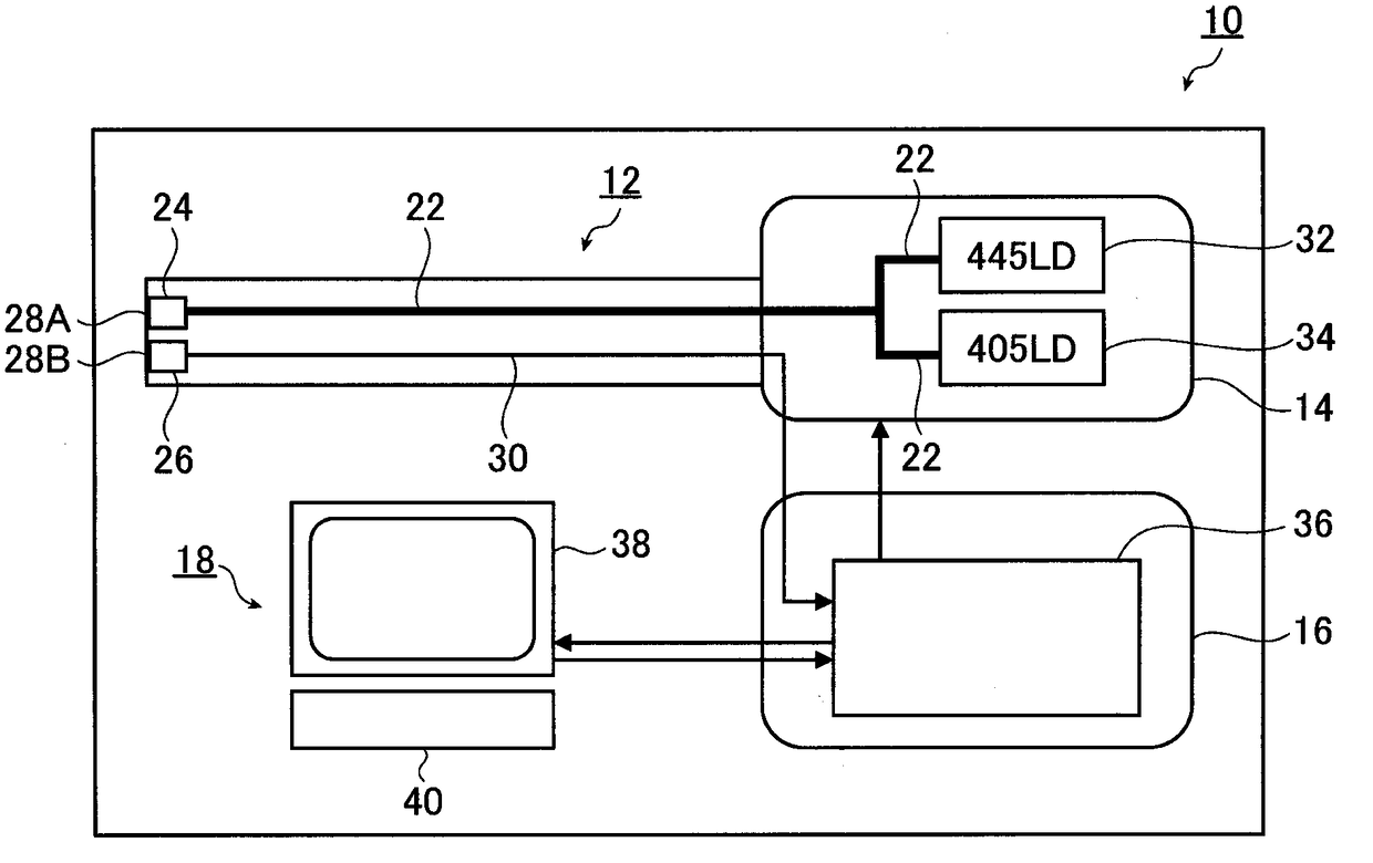
内窥镜装置
授权日
1900-01-01
公开(公告)号
CN102429625A
申请日
2011-09-28
公开(公告)日
2012-05-02
当前申请(专利权)人
富士胶片株式会社
发明人
山口博司 | 峰苫靖浩
简单同族
CN102429625A | EP2436304A2 | EP2436304A3 | EP2436304B1 | JP2012071012A | JP5371920B2 | US20120078044A1
简单同族成员数量
7
简单同族被引用专利总数
36
诉讼案件数
0
法律状态/事件
撤回
抱歉,您的浏览器不支持PDF预览,请点击链接下载PDF文件