专利数据库
统计分析
产业报告
专利数据监控
产业人才
行业动态
产业政策法规
维权援助
个人中心
详情
文本
图像
标题
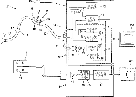
内窥镜装置
授权日
2014-12-03
公开(公告)号
CN102238894B
申请日
2010-07-26
公开(公告)日
2014-12-03
当前申请(专利权)人
奥林巴斯株式会社
发明人
田中秀树
简单同族
CN102238894A | CN102238894B | EP2347694A1 | EP2347694A4 | EP2347694B1 | JP4724262B2 | JPWO2011040111A1 | US20110237889A1 | US8480568 | WO2011040111A1
简单同族成员数量
10
简单同族被引用专利总数
21
诉讼案件数
0
法律状态/事件
未缴年费 | 权利转移
抱歉,您的浏览器不支持PDF预览,请点击链接下载PDF文件