专利数据库
统计分析
产业报告
专利数据监控
产业人才
行业动态
产业政策法规
维权援助
个人中心
详情
文本
图像
标题
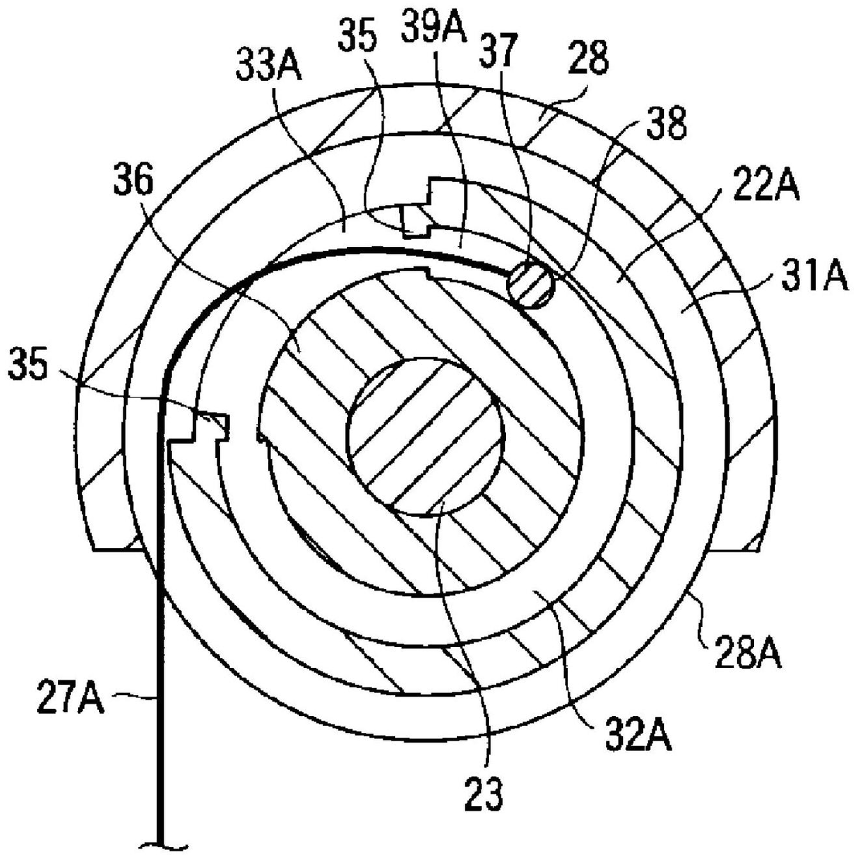
内窥镜弯曲装置
授权日
1900-01-01
公开(公告)号
CN102711582A
申请日
2010-09-29
公开(公告)日
2012-10-03
当前申请(专利权)人
奥林巴斯株式会社
发明人
中出俊彦 | 松浦伸之 | 谷井好幸
简单同族
CN102711582A | CN102711582B | DE112010005124T5 | JP2011143029A | US20120220832A1 | WO2011086735A1
简单同族成员数量
6
简单同族被引用专利总数
58
诉讼案件数
0
法律状态/事件
授权 | 权利转移
抱歉,您的浏览器不支持PDF预览,请点击链接下载PDF文件