专利数据库
统计分析
产业报告
专利数据监控
产业人才
行业动态
产业政策法规
维权援助
个人中心
详情
文本
图像
标题
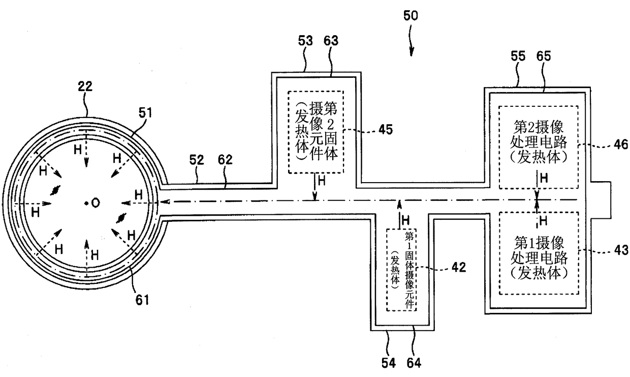
内窥镜装置
授权日
1900-01-01
公开(公告)号
CN102292014A
申请日
2010-05-20
公开(公告)日
2011-12-21
当前申请(专利权)人
奥林巴斯株式会社
发明人
小久保光贵
简单同族
CN102292014A | CN102292014B | EP2371262A1 | EP2371262A4 | EP2371262B1 | JP4757358B2 | JPWO2011010499A1 | US20110092769A1 | US8597179 | WO2011010499A1
简单同族成员数量
10
简单同族被引用专利总数
57
诉讼案件数
0
法律状态/事件
未缴年费 | 权利转移
抱歉,您的浏览器不支持PDF预览,请点击链接下载PDF文件