专利数据库
统计分析
产业报告
专利数据监控
产业人才
行业动态
产业政策法规
维权援助
个人中心
详情
文本
图像
标题
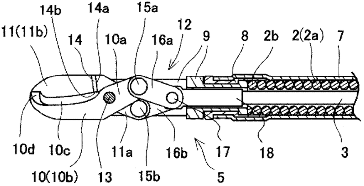
内窥镜用剪刀
授权日
1900-01-01
公开(公告)号
CN102573673A
申请日
2010-10-05
公开(公告)日
2012-07-11
当前申请(专利权)人
株式会社河川精工 | 株式会社钟化 | 住友电木株式会社
发明人
西村幸 | 西村诚
简单同族
AU2010304282A1 | AU2010304282B2 | BR112012000687A2 | CN102573673A | CN102573673B | EP2486876A1 | EP2486876A4 | EP2486876B1 | HK1169298A | JP5463363B2 | JPWO2011043340A1 | KR101713906B1 | KR1020120065967A | US20120197253A1 | US8920420 | WO2011043340A1
简单同族成员数量
16
简单同族被引用专利总数
29
诉讼案件数
0
法律状态/事件
授权 | 权利转移
抱歉,您的浏览器不支持PDF预览,请点击链接下载PDF文件