专利数据库
统计分析
产业报告
专利数据监控
产业人才
行业动态
产业政策法规
维权援助
个人中心
详情
文本
图像
标题
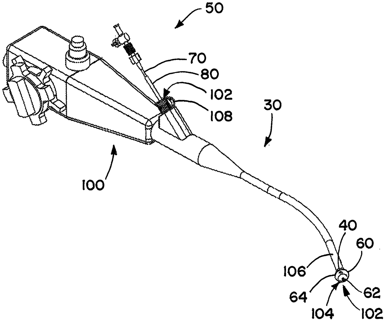
用于内窥镜的气囊状进入设备
授权日
2016-09-28
公开(公告)号
CN103781394B
申请日
2012-04-05
公开(公告)日
2016-09-28
当前申请(专利权)人
可视化气囊有限责任公司
发明人
鲍里斯·雷代尔 | D·西克里斯特 | K·S·威尔士
简单同族
CN103781394A | CN103781394B | EP2693931A1 | US20120259175A1 | US20160174829A1 | US9220396 | WO2012138815A1
简单同族成员数量
7
简单同族被引用专利总数
51
诉讼案件数
0
法律状态/事件
授权 | 权利转移
抱歉,您的浏览器不支持PDF预览,请点击链接下载PDF文件