专利数据库
统计分析
产业报告
专利数据监控
产业人才
行业动态
产业政策法规
维权援助
个人中心
详情
文本
图像
标题
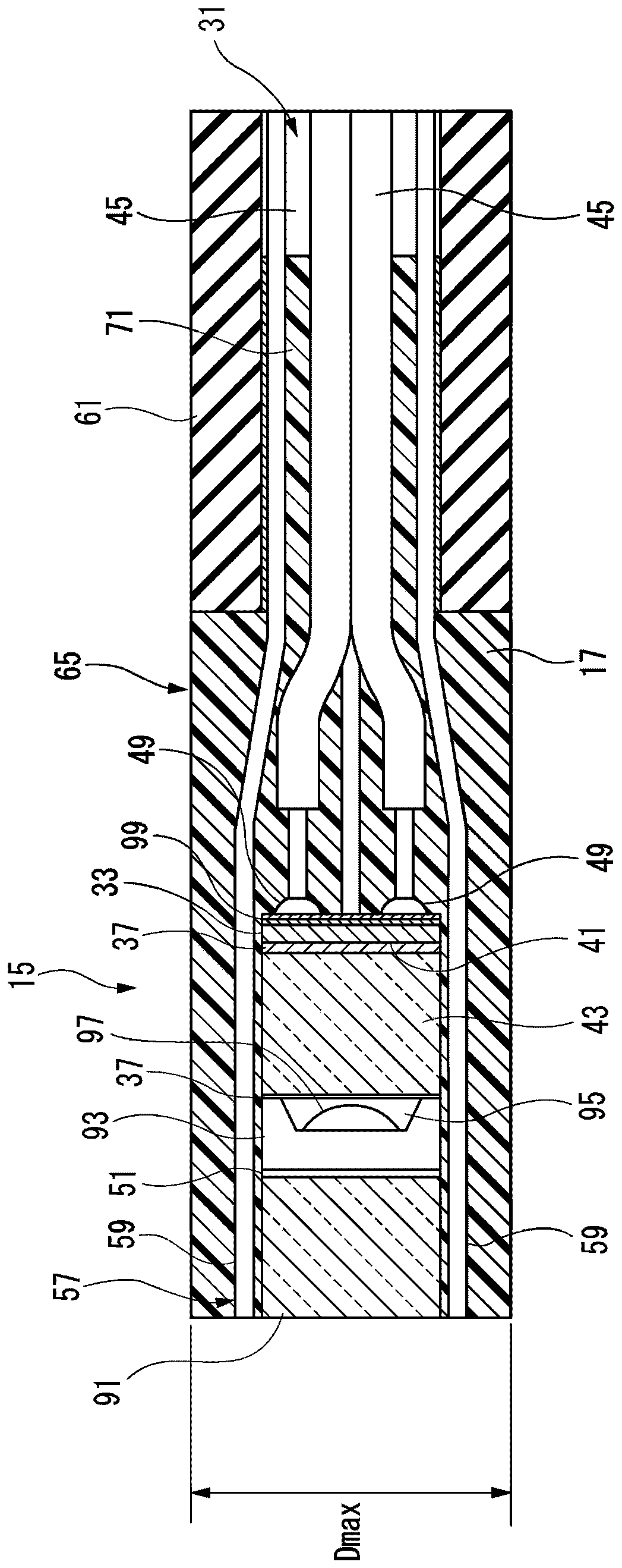
内窥镜
授权日
1900-01-01
公开(公告)号
CN110833381A
申请日
2016-08-30
公开(公告)日
2020-02-25
当前申请(专利权)人
松下I-PRO传感解决方案株式会社
发明人
原口直之 | 真田崇史 | 花田康行 | 畑濑雄一
简单同族
CN106483653A | CN106483653B | CN110833381A | DE102016216380A1 | DE102016216380B4 | US10359619 | US20170059848A1 | US20180059399A1 | US20190285868A1 | US9829698
简单同族成员数量
10
简单同族被引用专利总数
211
诉讼案件数
0
法律状态/事件
实质审查 | 权利转移
抱歉,您的浏览器不支持PDF预览,请点击链接下载PDF文件