专利数据库
统计分析
产业报告
专利数据监控
产业人才
行业动态
产业政策法规
维权援助
个人中心
详情
文本
图像
标题
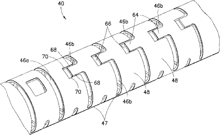
内窥镜轴
授权日
1900-01-01
公开(公告)号
CN102448360A
申请日
2010-05-26
公开(公告)日
2012-05-09
当前申请(专利权)人
捷锐士阿希迈公司
发明人
N・加尔佩林 | L・圣乔治
简单同族
CN102448360A | EP2437645A2 | EP2437645A4 | JP2012528651A | JP5566452B2 | US20100312056A1 | WO2010140083A2 | WO2010140083A3
简单同族成员数量
8
简单同族被引用专利总数
97
诉讼案件数
0
法律状态/事件
撤回
抱歉,您的浏览器不支持PDF预览,请点击链接下载PDF文件