专利数据库
统计分析
产业报告
专利数据监控
产业人才
行业动态
产业政策法规
维权援助
个人中心
详情
文本
图像
标题
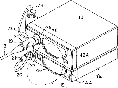
内窥镜的连接装置、内窥镜用电缆导出单元和内窥镜装置
授权日
2009-09-09
公开(公告)号
CN100536759C
申请日
2005-05-25
公开(公告)日
2009-09-09
当前申请(专利权)人
富士能株式会社
发明人
樋野和彦
简单同族
AT479381T | AT549966T | CN100438818C | CN100536759C | CN101069635A | CN1701754A | DE602005023351D1 | EP1600101A2 | EP1600101A3 | EP1600101B1 | EP1849398A2 | EP1849398A3 | EP1849398B1 | US20050267333A1 | US20100152535A1 | US20140257037A1 | US7695429
简单同族成员数量
17
简单同族被引用专利总数
70
诉讼案件数
0
法律状态/事件
未缴年费
抱歉,您的浏览器不支持PDF预览,请点击链接下载PDF文件